田龍機械斗式提升機詳細介紹
發布日期:2015-11-16 瀏覽次數:
田龍機械斗式提升機詳細介紹供大家參考學習:
田龍斗式提升機的組成

料斗:固定于膠帶(或牽引鏈)上,有三種
深斗——適合于松散物料;
淺斗——粘性較大的物料;
三角斗——比重大且成塊狀的物料
外殼:內裝傳動裝置和止動器。
機身:薄鋼板焊成方形殼,裝跑偏報警器 。
下部:裝張緊裝置。
田龍斗式提升機的分類
1、按布置形式:可分為立式和傾斜式兩種
2、按卸料方式不同:可分為離心式、重力式和混合式。
3、按裝料方式不同:可分為挖取式和注入式。
4、按料斗的結構不同:可分為淺斗、深斗和三角形斗。
5、按牽引構件不同:可分為膠帶和鋼質鏈條。
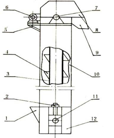
田龍斗式提升機的結構原理圖
•
1-進料口 2-拉緊裝置 3-牽引機構 4-料斗
5-驅動平臺 6-驅動裝置 7-傳動輪 8-頭部罩殼
9-卸料口10-中間罩殼 11-拉緊輪 12-底座
田龍斗式提升機的工作原理
田龍斗式提升機的輸送工作原理是:料斗把物料從下面的儲藏中舀起,隨著輸送帶或鏈提升到頂部,繞過頂輪后向下翻轉, 斗式提升機將物料傾入接受槽內。帶傳動的斗式提升機的傳動帶一般采用橡膠帶,裝在下或上面的傳動滾筒和上下面的改向滾筒上。鏈傳動的斗式提升機一般裝有兩條平行的傳動鏈,上或下面有一對傳動鏈輪,下或上面是一對改向鏈輪。田龍斗式提升機一般都裝有機殼,以防止斗式提升機中粉塵飛揚。
田龍斗式提升機的特點
1、驅動功率小,采用流入式喂料、誘導式卸料、大容量的料斗密集型布置。在物料提升時幾乎無回料和挖料現象,因此無效功率少。
2、提升范圍廣,這類提升機對物料的種類、特性要求少,不但能提升一般粉狀、小顆粒狀物料,而且可提升磨琢性較大的物料。密封性好,環境污染少。
3、使用壽命長,提升機的喂料采取流入式,無需用斗挖料,材料之間很少發生擠壓和碰撞現象。本機在設計時保證物料在喂料、卸料時少有撒落,減少了機械磨損。
4、運行可靠性好,先進的設計原理和加工方法,保證了整機運行的可靠性,無故障時間超過2萬小時。提升高度高。提升機運行平穩,因此可達到較高的提升高度。
田龍斗式提升機的優缺點
優點:
1、結構簡單,橫向尺寸小,占地面積少。
2、提升高度大,輸送能力好,機身全封閉,對環境污染小。
3、耗用動力小。
缺點:
1、過載時易堵塞,料斗易磨損。
2、只宜于輸送粉粒狀和中小塊狀的散貨,如糧食、煤、砂等。
3、不能在水平方向上輸送貨物。
田龍斗式提升機的使用注意事項
1、操作時必須遵守“無載起動,空載停車”的原則。也就是先開機,待運轉正常后,再給料;停車前應將機內的物料排空。
2、工作時,進料應均勻,出料管應通暢,以免引起堵塞。如發行堵塞,應立即停止進料并停機,拉開機座插板,排除堵塞物。注意此時不能直接用手伸進底座。
3、正常工作時,料斗帶應在機筒中間位置,如發現有跑偏現象或畚斗帶過松而引起料斗與機筒碰撞摩擦時,應及時通過張緊裝置進行調整。
4、嚴防大塊異物進入機座,以免打壞料斗,影響斗提機正常工作。輸送沒有經初清理的物料時,進料口應加設鐵柵網,防止稻草、麥桿、繩子等纖維性雜質進入機座引起纏繞堵塞。
5、應定期檢查提升機料斗帶的張緊程度,料斗與料斗帶的連接是否牢固,如發現松動、脫落、料斗歪斜和破損現象,應及時檢修或更換,以免發生更嚴重的后果。
6、如發生突然停機的情況,應先將機座內積存的物料排出后再開機。
了解斗式提升機關注田龍機械!
- 上一篇:斗式提升機各個型號的劃分及區別
- 下一篇:斗式提升機制造維修維護國家技術標準
最熱動態
- ● NE系列板鏈式提升機
- ● 斗提機械輸送帶問題處理方法
- ● 垂直提升機試車時要注意什么問題
- ● 掌握以下5點讓你選到合適型號的斗
- ● 膠帶式提升機效率更高
- ● 怎樣讓斗子輸送機多用幾年?
- ● 斗式提升機鏈條更換快速方法
- ● 斗式提升機馬力計算
- ● 斗式提升機工程指南
- ● 斗式提升機結構








13582022680
產品咨詢
關于我們
聯系我們